Gravity Drive


The "Gravity Drive" cycles potential energy in the form of "retained" vacuum also in tandem with the forward advancement of magnetic "pressure" (within the system electric motors), atop the fluid velocity rate to then convert high inertia rate to high voltage electricity production. The design is a power source upon the ground provided gravity remains.. The system is fuel less and produces zero emission correcting climate change induced by inclined carbon dioxide levels.


The "Gravity Drive" is a fuel less generator system that is suitable for water purification , water collection (via de-humidification / powered refrigeration system), and or to then produce high density high voltage electricity for Urban and or Rural use. The design system would be best suited in underground locations to protect the design from storm damage. The installation then with adequate pumping system to insure safety from flooding.


The system could clean water in high volume by oceanic distillation and allows for the energy density produced to pump a river up hill with zero fuel expenditure. This applied to then feed farm land unlimited cost effective water for agriculture. The design system is a "quick Up- Grade" to existing coal fired boiler system for Utility scale power generation systems making the "electrical grid" a fuel less system providing higher power delivery and greater security. The system then with "Zero emission" correcting the Carbon Dioxide emission problem.


The following system is a hydraulic cycle then implementing vacuum ( negative pressure ), to then derive high voltage electricity with zero emission.  The design will maintain the oil level height by cycle in both chambers.

Coda




























Parts List


1. Vacuum sealing entry hatch


2.  Vacuum support "web" hemisphere support structural member


3.  Horizontal hinge


4. Vacuum pipe


5. Outer feed silo cover


6. Pipe coupling


7. Vacuum pipe coupling


8. "Main line" return pipe


9.  Vacuum pump / permanent magnet (P.M.) electricity generator "return line" pipe


10. Main high voltage generator assembly "return line" pipe


11. one way valve


12. oil filter flow valve and high speed pump driven by electric motor and gear set


13. oil filter assembly with oil pressure sensor / fault indicator sensor


14. oil temperature sensor


15. oil filter flow control valve and high speed pump driven by electric motor and gear set


16. Access ladder


17. revolutions per minute (R.P.M.  sensor) / hall effect sensor


18. Vacuum pump (evacuates the silo top)


19. electromagnetic clutch ( E.M. clutch) electricity produced in generator "bank" number's 68. The

      electricity produced in generator "bank" number's 68 powers the application at variable electricity

      levels - volt regulated.

20. E.M. electricity contact "brush track"


21. electric motor tandem armature to number 22's "counter tilt" electric motor - "zeros" the resistance produced

      in ratio gear set , number 23 . The electricity produced in generator "bank" number's 68 powers the

     application at variable electricity levels - volt regulated.  (40Hp electric motor)


22. P.M. electricity generator / contains voltage regulator and feed circuit to electrify number 21 / hot bus

      connection from transformer post number 51'as electrical output also feeds electrical current to

      number 40 and 42


23. 10:1 ratio gear set (high side rotation tandem to number 24.


24. hydraulic impeller (input torque to number 23)


25. hydraulic "counter tilt" electric valve / regulated the oil pressure and oil flow rate causing the nullification

      of resistance produced when using a ratio gear set to allow increase speed of the total system.


26. electric valve position system (controls the valve positions of both numbers 25, 27 and number 30


27. Generator assembly hydraulic pump oil feed flow valve


28. R.P.M. sensor "hall effect"


29. hydraulic pump (high speed oil pump / with component failure casing - projectile prevention safety casing


30. "Main line" oil flow valve


31. exhaust air filter


32. planetary gear system with connecting drive shafts number 84


33. differential gear system (drives the drive shafts number 84)


34.  electromagnetic clutch  (allows for fine rate adjustment)  mechanical clutch- upon number 35 ( default

       position engaged / run position after required rate of rotation obtained  "dis-engaged" by locked position

       caused by number 36 via solenoid system


35. transmission speed sensor / output rotation "tachometer"/ automatic gear selection mechanical transmission

      total ratio final 1:20


36. mechanical clutch "clutch slave system"  control system contains solenoids - redundant circuit paths

      with circuit fault indication sensors ( reports to main circuit logic system)


37. mechanical transmission with input torque converter to gearing , output rotation post gearing  planetary

      gear number 32 motivation differential number 33 rotating hydraulic oil pump number 29 causing speed

      incline an increase in velocity of rotation so that the oil pump is causing greater fluid rate to then cause

      the velocity of oil to impale the hydraulic impeller, number 43, causing system incline rate of

      rotation. Even though the torque converter typically changes high rotation to high torque..  The

      system's torque converter changes high torque to higher rotation by the gear sets final gear ratios

      within the mechanical transmission. Final ratio effect then at 1:20 with "1" being rotation at the torque

      converter and "20" of the ratio then being the  mechanical transmissions output rotation.


38.  bolt plate system  - dual plate with alignment "pins" (the alignment pins are stainless steel short

       rods), and through bolt bore holes to the accept high strength bolt washer lock washer and dual nut to

       secure the two bolt plates together


39. Hydraulic impeller contains casing oil pressure sensor assist in the resistance produced in the ratio

      gear set .. to "nullify - zero the resistance caused when causing greater rotation using a ratio gear set


40. ratio gear set high side electric motor armature tandem rotating with the output rotation of the ratio

      gear set number 41 (60Kw to 80Kw electric motor capacity... 60Hp to 80Hp (Hp = horse power)


41. 1:10 ratio gear set with the high side of the ratio tandem rotating with the armature of number 40 and

       number 39, hydraulic impeller 


42. electric drive motor (high voltage 200Hp / 200 horse power) demonstrates the forward advancement

      caused by magnetic pressure atop the oil flow rate) armature of the electric motor tandem rotating

      to the input shaft of the ratio gear set number 41 also connected to the core shaft of the hydraulic

      impeller number 43.


43. hydraulic impeller input torque to the ratio gear set rotates tandem with armature of number 42


44. over pressure safety valve contains actuation sensor / reports to logic circuits as functional safety control

      circuit. Actuation directs discharge oil to the silo top into vacuum via pipe


45.  flow system "slide dampener" valve directs variable fluid pressure to the oil impeller number 24.


46. over pressure safety valve actuation / contain actuation sensor also acting as a safety fault and system

       control sensor - reports to system main logic circuit processing "control circuit"


47. "main line" oil impeller contains casing pressure sensor also reporting to the logic processing control

       system to keep the oil pressure within safe operating parameters


48. torque converter


49.  system housing


50. automatic gearing transmission - transmission oil cooling system contained within / mechanical drive

      transference for refrigeration system "cools the transmission fluid" also cools number 51


51. High voltage generator - megawatt to gigawatt scale


52. voltage regulation


53. magneto (permanent magnet) generator feeds Stator / field coil - also allowing for high tension incline to higher

      available electricity output from number 51


54. adjustable leveling - locking adjustment to stable the silo


55. mounting towers (locks the silo)


56. silo discharge coupling


57. agricultural feed silo (modified to control static electricity and sustained high vacuum - negative pressure)


58. "web" vacuum support "brace" keeps the silo structural integrity intact through the full span

       of it's intended operational functioning


59. pipe coupling


60. siphon "prime pipe" coupling


61. siphon "prime" valves - electric actuation / flow regulation valves


62. siphon "prime" feed pipe


63. vacuum level sensor / "air purge control valve (allows air exchange) optical oil level sensor / redundant

      sonar oil level sensor)


64. circumference hand rail (safety rough surface spray deposition atop the lower oil tank - non slip surface


65.  silo access hatch - allows entry to the space between the silo and the silo weather cover


66. silo ladder


67. oil tank


68. siphon flow main line hydraulic oil impeller  + control valves - electric position indication sensors control

      circuit references optical and sonar sensor and R.P.M. sensor (governs system speed), to control oil level

       in the tanks -  Number 68 contains hydraulic impellers then driving an "electrically counter tilted" gear

      set & generator system... the electricity output of the said generator may then electrify numbers 40 and

      number 42. "( electrically counter tilted" defined as an electric motor upon the high side of the gear set

      to "zero" the resistance produced when using a ratio gear set)  - electrical current for the "counter tilt motor"

      produced in number 22. The generators contain magnetos for stator / field coil excitation. Generators with

      multiple "brush option.... including roller ball brush system for longevity.


      The said independent generators up to 50Kw electrical out put  (sum of two

      per siphon flow pipe) , allowing for produced electricity to power 200+ Hp electric motor as

      number 42 with number 40 then rated Hp at total plus tilt effect for the ratio gear set. (different scales

      of application follow system design... ). The magnetic pressure in the 200Hp electric motor then applied

      in a forward advancing fashion atop the  fluid rate until the inertia is sufficient to rotate the attached

      generator.  A 1Mw generator requires approximately 1500 Hp to operate. The following schematic is the

      same upon both sides of the mirror line "contains" the same components.....


The individual components then within number 68 are the connected by drive shaft and are encased in weather  proof shielding  (the electrical ground wires also insulated "weather sheath" and is securely fix to the earth to control any stray voltage.  The assembly is heavy so the exchange of component for rebuild (bearings) will require the assistance of a boom lift  and a catch rack system to then allow for minimal human stress extracting the assembly. The "brushes within the generator system then able to be installed with a quick clip system for ease of component replacement.































The "main line" oil impellers are then impaled by the siphon oil flow with high vacuum within the lower tank  causing high rate of flow due to the vacuum in number 67. The attached "generating assembly" then assisted in rotation by oil feed hydraulic flow "hydraulic counter tilt" and also by the electric motors upon the ratio gear sets input shaft and output shaft (electric counter tilt system). The 50Kw generator contain voltage regulator and internal magneto for field coil electrification.


69. inner lower oil tank silo frame structural support


70. drive shaft and support cover drive shaft contains universal joint as union joint between the two

      shafts one connected to the hydraulic pump the other connected to the  differential output drive shaft


71. counter tilt impeller discharge flow pipe discharges oil pressure to the silo top into the vacuum


72. over pressure safety valve discharge flow pipe discharges to the silo top - into the vacuum


73. over pressure safety valve discharge flow pipe discharges to the silo top - into the vacuum


74. siphon flow pipe coupling


75. siphon "priming" tube oil pressure sensor


76. lower oil tank access hatch vacuum seal capacity


77.  electric resistance oil heater - warms the oil within the system


78.  center point  structural lock bracket  locked diagonal structural support beams (stain less steel

       silo support frame)


79.  vertical frame support (stainless steel)


80.  Main line hydraulic impeller return flow pipe coupling


81.  manual one way valve vacuum "start" negative pressure and oil fill pressure coupling


82.  screened siphon intake port


83.  system vacuum balancer (allows for high vacuum in both the silo and the lower oil tank) electric

       actuation references system oil height level


84.  drive shaft



* Note - The electric motors and generators then are also cooled by the system water condenser refrigeration system to maintain operational longevity and thermal tolerance prevent premature failure due to thermal stress.


* Note - high speed oil flow tube feeding number 24 then with additional over pressure safety valve (tube venting to high vacuum in the top of the silo),  with actuation sensor and valve and "Y" shaped pipe, coupling to allow high speed oil flow to the "counter tilt" impeller within number 68.


This then allow greater electricity production... The oil feed then with distribution manifold into each individual counter tilt hydraulic impeller within the ratio gear sets also contains independent flow rate valves and pipe connected to the generators assembly then allowing oil pressure to assist in the rotation of the ratio gear set.  Post impellers the oil vents via tube to the top of the silo with one way containing dampener valve with oil pressure sensor reporting to the system logic electronic control circuits. The "hydraulic counter tilt" is then  accelerating total generating assembly number 68.  (also allows for independent component exchange while the total system is in operation)


The oil flow system then upon both the input torque and the out put

torque (sum of two hydraulic impellers upon the ratio gear sets.... each side... tandem locked), rotates in unison.....with the hydraulic impellers... this allows the mass flow (siphon feed oil flow) sufficient rate vs. volume,  to obtain the required electricity production.


* Note -  number 29 and number 39 are "interchangeable". In the draft position "with the output of the gear

              incline ( number 34),  then in the reverse position ie. causing high rotation always to

              number 29

































The Gravity Drive cycles potential energy  (work potential) in the form of vacuum causing continual cycle of the "working fluid". The non flammable non electrically conductive silicone oil then is pulled downward by it's specific gravity ( weight) by gravity causing incline vacuum and produces cyclic flow yielding electricity production. The hydraulic pump is pressurized by the Oil tanks head weight and rate of rotation compounded by the pumps discharge directed,via flow pipe, to a hydraulic impeller tandem rotating with the main generator "drive line" (automatic mechanical transmission / torque converter / gears/ locking to a high voltage generator via bolt plates.


The  "Gravity Drive" is a fuel less generator system that is suitable for  water purification, water collection (via de-humidification / powered  refrigeration system), and or to then produce high density high voltage  electricity for Urban and or Rural use. The design system would be best  suited in underground locations to protect the design from storm damage.  The installation then with adequate pumping system to insure safety  from flooding.


The  system could clean water in high volume by oceanic distillation and  allows for the energy density produced to pump a river up hill with zero  fuel expenditure. This applied to then feed farm land unlimited cost  effective water for agriculture. The design system is a "quick Up- Grade" to existing coal fired boiler system for Utility scale power  generation systems making the "electrical grid" a fuel less system  providing higher power delivery and greater security. The system then  with "Zero emission" correcting the Carbon Dioxide emission problem.


The  following system is a hydraulic cycle then implementing vacuum (negative pressure), to then derive high voltage electricity with zero  emission.  The design will maintain the oil level height by cycle in  both chambers.

 

Parts List


1. Vacuum sealing entry hatch

2.  Vacuum support "web" hemisphere support structural member

3.  Horizontal hinge

4. Vacuum pipe

5. Outer feed silo cover

6. Pipe coupling

7. Vacuum pipe coupling

8. "Main line" return pipe

9.  Vacuum pump / permanent magnet (P.M.) electricity generator "return line" pipe

10. Main high voltage generator assembly "return line" pipe

11. one way valve

12. oil filter flow valve and high speed pump driven by electric motor and gear set

13. oil filter assembly with oil pressure sensor / fault indicator sensor

14. oil temperature sensor

15. oil filter flow control valve and high speed pump driven by electric motor and gear set

16. Access ladder

17. revolutions per minute (R.P.M.  sensor) / hall effect sensor

18. Vacuum pump (evacuates the silo top)

19. electromagnetic clutch (E.M. clutch) electricity produced in generator "bank" number's 68. The
      electricity produced in generator "bank" number's 68 powers the application at variable electricity
      levels - volt regulated.

20. E.M. electricity contact "brush track"

21. electric motor tandem armature to number 22's "counter tilt" electric motor - "zeros" the resistance produced
      in ratio gear set, number 23. The electricity produced in generator "bank" number's 68 powers the
     application at variable electricity levels - volt regulated.  (40Hp electric motor)

22. P.M. electricity generator / contains voltage regulator and feed circuit to electrify number 21 / hot bus
      connection from transformer post number 51'as electrical output also feeds electrical current to
      number 40 and 42

23. 10:1 ratio gear set (high side rotation tandem with number 24).

24. hydraulic impeller (input torque to number 23)

25. hydraulic "counter tilt" electric valve / regulated the oil pressure and oil flow rate causing the nullification
      of resistance produced when using a ratio gear set to allow increase speed of the total system.

26. electric valve position system ( controls the valve positions of both numbers 25, 27 and number 30

27. Generator assembly hydraulic pump oil feed flow valve

28. R.P.M. sensor "hall effect"

29. hydraulic pump (high speed oil pump / with component failure casing - projectile prevention safety casing)

30. "Main line" oil flow valve

31. exhaust air filter

32. planetary gear system with connecting drive shafts number 84

33. differential gear system ( drives the drive shafts number 84)

34.  electromagnetic clutch  (allows for fine rate adjustment)  mechanical clutch- upon number 35 ( default
       position engaged / run position after required rate of rotation obtained  "dis-engaged" by locked position
       caused by number 36 via solenoid system

35. transmission speed sensor / output rotation "tachometer"/ automatic gear selection mechanical transmission
      total ratio final 1:20

36. mechanical clutch "clutch slave system"  control system contains solenoids - redundant circuit paths
      with circuit fault indication sensors ( reports to main circuit logic system)

37. mechanical transmission with input torque converter to gearing , output rotation post gearing  planetary
      gear number 32 motivation differential number 33 rotating hydraulic oil pump number 29 causing speed
      incline an increase in velocity of rotation so that the oil pump is causing greater fluid rate to then cause
      the velocity of oil to impale the hydraulic impeller, number 43, causing system incline rate of
      rotation. Even though the torque converter typically changes high rotation to high torque..  The
      system's torque converter changes high torque to higher rotation by the gear sets final gear ratios
      within the mechanical transmission. Final ratio effect then at 1:20 with "1" being rotation at the torque
      converter and "20" of the ratio then being the  mechanical transmissions output rotation.

38.  bolt plate system  - dual plate with alignment "pins" ( the alignment pins are stainless steel short
       rods), and through bolt bore holes to the accept high strength bolt washer lock washer and dual nut to
       secure the two bolt plates together

39. Hydraulic impeller contains casing oil pressure sensor assist in the resistance produced in the ratio
      gear set .. to "nullify" - zero the resistance caused when causing greater rotation using a ratio gear set

40. ratio gear set high side electric motor armature tandem rotating with the output rotation of the ratio
      gear set number 41 ( 60Kw to 80Kw electric motor capacity... 60Hp to 80Hp ( Hp = horse power)

41. 1:10 ratio gear set with the high side of the ratio tandem rotating with the armature of number 40 and
       number 39, hydraulic impeller

42. electric drive motor ( high voltage 200Hp / 200 horse power) demonstrates the forward advancement
      caused by magnetic pressure atop the oil flow rate) armature of the electric motor tandem rotating
      to the input shaft of the ratio gear set number 41 also connected to the core shaft of the hydraulic
      impeller number 43.

43. hydraulic impeller input torque to the ratio gear set rotates tandem with armature of number 42

44. over pressure safety valve contains actuation sensor / reports to logic circuits as functional safety control
      circuit. Actuation directs discharge oil to the silo top into vacuum via pipe

45.  flow system "slide dampener" valve directs variable fluid pressure to the oil impeller number 24.

46. over pressure safety valve actuation / contain actuation sensor also acting as a safety fault and system
       control sensor - reports to system main logic circuit processing "control circuit"

47. "main line" oil impeller contains casing pressure sensor also reporting to the logic processing control
       system to keep the oil pressure within safe operating parameters

48. torque converter

49.  system housing

50. automatic gearing transmission - transmission oil cooling system contained within / mechanical drive
      transference for refrigeration system "cools the transmission fluid" also cools number 51

51. High voltage generator - megawatt to gigawatt scale

52. voltage regulation

53. magneto ( permanent magnet ) generator feeds Stator / field coil - also allowing for high tension incline to higher
      available electricity output from number 51

54. adjustable leveling - locking adjustment to stable the silo

55. mounting towers (locks the silo)

56. silo discharge coupling

57. agricultural feed silo (modified to control static electricity and sustained high vacuum - negative pressure)

58. "web" vacuum support "brace" keeps the silo structural integrity intact through the full span

       of it's intended operational functioning

59. pipe coupling

60. siphon "prime pipe" coupling

61. siphon "prime" valves - electric actuation / flow regulation valves

62. siphon "prime" feed pipe

63. vacuum level sensor / air purge control valve ( allows air exchange) optical oil level sensor / redundant
      sonar oil level sensor)

64. circumference hand rail (safety rough surface spray deposition atop the lower oil tank - non slip surface

65.  silo access hatch - allows entry to the space between the silo and the silo weather cover

66. silo ladder

67. oil tank

68. siphon flow main line hydraulic oil impeller  + control valves - electric position indication sensors control
      circuit references optical and sonar sensor and R.P.M. sensor ( governs system speed), to control oil level
       in the tanks -  Number 68 contains hydraulic impellers then driving an "electrically counter tilted" gear
      set & generator system... the electricity output of the said generator may then electrify numbers 40 and
      number 42. "( electrically counter tilted" defined as an electric motor upon the high side of the gear set
      to "zero" the resistance produced when using a ratio gear set)  - electrical current for the "counter tilt motor"
      produced in number 22.


      The generators contain magnetos for stator / field coil excitation. Generators with multiple "brush option....

      including roller ball brush system for longevity. The said independent generators up to 50Kw electrical out put

      (sum of two per siphon flow pipe) , allowing for produced electricity to power 200+ Hp electric motor as number

      42 with number 40 then rated Hp at total plus tilt effect for the ratio gear set. (different scales of application follow

      system design).


      The magnetic pressure in the 200Hp electric motor then applied in a forward advancing fashion atop the 

      fluid rate until the inertia is sufficient to rotate the attached generator.  A 1Mw generator requires approximately

      1500 Hp to operate. The following schematic is the same upon both sides of the mirror line "contains" the

      same components.....

The  individual components then within number 68 are the connected by drive  shaft and are encased in weather  proof shielding  ( the ground wire  also insulated "weather sheath" and is securely fix to the earth to  control any stray voltage.  The assembly is heavy so the exchange of  component for rebuild (bearings) will require the assistance of a boom  lift  and a catch rack system to then allow for minimal human stress  extracting the assembly. The "brushes within the generator system then  able to be installed with a quick clip system for ease of component  replacement.

The "main  line" oil impellers are then impaled by the siphon oil flow with high  vacuum within the lower tank  causing high rate of flow due to the  vacuum in number 67. The attached "generating assembly" then assisted in  rotation by oil feed hydraulic flow "hydraulic counter tilt" and also  by the electric motors upon the ratio gear sets input shaft and output  shaft (electric counter tilt system). The 50Kw generator contain voltage  regulator and internal magneto for field coil electrification.

69. inner lower oil tank silo frame structural support

70. drive shaft and support cover drive shaft contains universal joint as union joint between the two
      shafts one connected to the hydraulic pump the other connected to the  differential output drive shaft

71. counter tilt impeller discharge flow pipe discharges oil pressure to the silo top into the vacuum

72. over pressure safety valve discharge flow pipe discharges to the silo top - into the vacuum

73. over pressure safety valve discharge flow pipe discharges to the silo top - into the vacuum

74. siphon flow pipe coupling

75. siphon "priming" tube oil pressure sensor

76. lower oil tank access hatch vacuum seal capacity

77.  electric resistance oil heater - warms the oil within the system

78.  center point  structural lock bracket  locked diagonal structural support beams (stain less steel
       silo support frame)

79.  vertical frame support (stainless steel)

80.  Main line hydraulic impeller return flow pipe coupling

81.  manual one way valve vacuum "start" negative pressure and oil fill pressure coupling

82.  screened siphon intake port

83.  system vacuum balancer ( allows for high vacuum in both the silo and the lower oil tank ) electric
       actuation references system oil height level

84.  drive shaft

*  Note - The electric motors and generators then are also cooled by the  system water condenser refrigeration system to maintain operational  longevity and thermal tolerance prevent premature failure to to thermal  stress.

*  Note - high speed oil flow tube feeding number 24 then with additional  over pressure safety valve ( tube venting to high vacuum in the top of  the silo),  with actuation sensor and valve and "Y" shaped pipe,  coupling to allow high speed oil flow to the "counter tilt" impeller  within number 68.

This  then allows greater electricity production... The oil feed then with  distribution manifold into each individual counter tilt hydraulic  impeller within the ratio gear sets also contains independent flow rate  valves and pipe connected to the generators assembly then allowing oil  pressure to assist in the rotation of the ratio gear set.  Post impellers the oil vents via tube to the top of the silo with one way  containing dampener valve with oil pressure sensor reporting to the  system logic electronic control circuits. The "hydraulic counter tilt"  is then  accelerating total generating assembly number 68.  (also  allows for independent component exchange while the total system is in  operation)

The oil flow system then upon both the input torque and the out put torque ( sum of two hydraulic impellers upon the ratio gear sets....  each side... tandem locked), rotates in unison.....with the hydraulic  impellers... this allows the mass flow (siphon feed oil flow)  sufficient rate vs. volume,  to obtain the required electricity production.



Generator Assembly =   / "contains"....,  number 10, number 11, number 12, number 13, number 14,                         number 15, number 16, and number 17


The falling "head weight" of the silicone oil, within the oil column oil tank, then causes high suction  pulling the non conductive ( electrically) and non flammable silicone oil by suction from number 13 causing the generating assembly to produce electricity.


The produced electricity is then voltage regulated and controlled with potentiometer and directed via circuit to the electric motor, number 12 upon the drive line of the generator assembly. This causes hydraulic fluid velocity advancement as the hydraulic pump's hydraulic fluid discharge from number 10 is the fluid pressure then directed via flow pipe impaling number 13 causing system advancement and greater electricity out put levels from number 15, high voltage generator, to then be applied to the application.


As the silicone oil drops within the oil column ( number 24), the vacuum level  increases causing the generator system an incline rate of rotation. The fluid rate then increased by the high speed hydraulic pump,.. pumping into the hydraulic impeller upon the drive line.... this produces high oil pressure and rate of flow with the oil pressure then relieved by number 17 with the oil directed to the hydraulic impeller connected to the reduction gearing and subsequent generator / motor, number 4 and at max pressure back to the vacuum in the top of number 24. The produced current in number 4 then regulated and directed via circuit controlled by potentiometer to number 12, electric motor causing forward advancement of re-introduction of current to increase total system speed and system's total final electrical output in number 15.


The system will cause static electricity from hydraulic fluid flow and will be electrically grounded upon the system mounting points. Even though the hydraulic fluid is not electrically conductive / flow pipes are electrically grounded to control static electricity.


The flow cycle then may be polar array with as many individual generator assemblies and vacuum systems as per required for the scale of application. ie. one dual fluid tank system ( number 24 and number 25 ),  may drive 10+ or more, 1 Megawatt generator cycles.... then generating via number 15.


The design system will demonstrate the forward advancement of magnetic pressure as the magnetic advancement by the electric motor, number 12. The electric motor's torque ( upon the generator assembly),  will then be applied in a forward advancing fashion atop the fluid rate of rotation. This allows for high rate of rotation to then cause high torque and rotation rate to then be converted to high voltage electricity production post torque converter and automatic transmission.


The fluid reservoir (oil column) is not depicted to scale .. one must think of the oil column as large as a municipal "water tower" then containing enough silicone oil to produce the required basal "head weight" of oil pressure.

The "head weight" defined as the fluid pressure from an up hill reservoir source.


Smaller versions for independent distributed electrical production for single family domestic use may also be constructed.


Note - Flow valves numbers 7, 23,18, and number 8 then are able to be controlled by the system governing electronics... "to maintain a controlled  flow and electrical output of electricity".... The system will reference oil level "height" in both chambers (number 24 and number 25), to then by sensor, extrapolate the valve positions for all flow valves. The flow valves will position automatically referencing the sensor information. The valve system will also contain an "all stop" safety feature should the system develop a fault within the system.  The R.P.M. (revolutions per minute), sensors will also assist in the system rate of rotation and reintroduction current levels ( ie. electricity to the design's electric motor number 12 ).  Number 22 may also implement an optical sensor with sonic bounce sensor to control the oil level within the lower oil tank.


Note - The lower tank, number 25 will also contain a "prime" tube to the assist in starting the siphon then being an additional tube emanating from the column tank, number 24, with a tube from number 24 above the siphon system then entering the valve number 23 to then fill at greater rate to "start" the siphon.  The said siphon system the also repetitive (many tubes and valve systems that siphon), with the tubes of larger diameter flow pipe to then allow for greater volume of oil to then enter the lower oil tank number 25...  This is required due to the pump speed and volume displacement of hydraulic pump number 10 to then maintain the correct oil level in the lower oil tank.


The flow tube , number 9 then being the oil feed tube to the hydraulic pump will also have a "prime" tube and valve system similar to number 23, with the additional tube then from the oil tank number 24 just above the main feed tube to the pump.  The valve similar to number 23 will also be upon the additional flow tube to then "prime" the feed tube for the oil pump , number 10. When the system is in operation all "prime" valves are then closed with the siphon flow valves (number 23), then positioned to open  "run" / "open" regulating the oil flow.


Note - within number 11 may also then be / contain an electric motor upon the high side of the ratio gear set to then "counter tilt" - "zero"  the resistance produced within the 1:10 ratio gear set...


As an option the unit, number 11, may also contain a hydraulic impeller and over pressure safety valve (venting to the oil column , number 24 within the vacuum zone), to then act as a ratio gear set "counter tilt" method using hydraulic  "oil pressure" then with the oil flow from number 17.... the hydraulic "counter tilt" option then with automatic regulation valve and pressure monitoring oil pressure sensor....the main flow from the said hydraulic impeller  also will discharge the oil, via tube, to the top of number 24.


As an option the oil flow path for the hydraulic "counter tilt" then as follows ; from the oil column , number 24 the oil then venting at the drain , number 20, with the oil volume / rate controlled in number 18 to then enter number 17... with a direction selection valve that may by-pass number 17 to then cause the full oil column "head weight" to then be directed to number 11's internal hydraulic impeller then tandem rotating with the high side of the ratio gear set. The discharge from the optional pathway / flow system will then discharge the silicone oil to the top of number 25 with a one way valve upon the flow tube system.


Both "counter tilt" methods may be applied to the high side of the ratio gear set then with the addition tandem locked to the ratio gear set's high side out put drive shaft then connecting to the mechanical clutch and 1/2 of the electromagnetic clutch that engages the oil pump number 10 then the other 1/2 of the electromagnetic clutch is electrified. Both sides of the electromagnetic clutch are electrified to control pump, number 10's speed ..to then control the fluid rate.



System "Start" Cycle


The system start sequence is as follows;


*  The flow tube between valve numbers 7 and valve number 8 is drained of oil at purge valve number 8. Both

   number 7 and number 8 are then positioned to the "run" open flow position


*  The valve number 18 is opened causing oil flow from the oil column tank , number 24 simultaneously

   the oil siphon "prime valves" upon the siphon system from oil tank number 24 to number 25 ( multiple

   siphon flow tube system ) will then open to prime the siphon and the oil pump flow tube siphon


*  Next the "prime valves" will close and the regulation valves upon the siphon system (valve number 23) will

   then adjust according to the rate selection required for system scale)


*  With the "falling head weight" of the silicone oil within the oil column tank causing suction the valve

   number 18 will close once the effect of the oil discharge from number 10 then is impaling number

   13 causing compound incline rate of rotation


* The oil pressure will rise just before the hydraulic impeller and be diverted by the dampener control

   valve, number 17 to then be directed, via tube, to the upper assembly impaling hydraulic

   impeller, number 3 yielding generated electric current when number 3 is then in "generate electricity" mode

   with the produced electric current directed to the electric motor, number 12 via control circuit ( potentiometer )

   and wires.


*  The mechanical clutch stays engaged upon the assembly until sufficient electrical current is obtained by

    rotation to then dis-engage the mechanical clutch and then the system energizes the electromagnetic clutch then

    allowing number 10 to "slip" to control and adjust the oil flow rate then from the oil pump , number 10.


* Level actuation sensors then upon numbers 16 and 17 will assist in control of the total system sending

  operational position from the unit (number 17) to then determine, via electronic circuit, the valves positions

  and electricity reintroduction level to the electric motor, number 12


* Electrical current from number 4 will also engage number 5, electromagnetic clutch, to then "deepen" the

  vacuum upon the top of the oil column oil tank number 24. The vacuum level is then monitored and

  maintained by the vacuum level sensor number 1 via electronic circuit within the control electronics that 

  determine  the electricity level to the electromagnetic clutch, number 5


* The over pressure safety valve also then with electric actuation sensor to then signal the control electronics

   if over pressure is occurring to then reduce the system rate and pressure via the electromagnetic clutch

   electrical intensity upon the main generator, number 15's drive line.


* Percentile of high voltage from number 15 may then be directed to the electric motor number 12 also

  to then send the generator system to "baug" resistant / load resistant levels of rotation. The reintroduction circuit 

  then volt regulated and electric level controlled by potentiometer / variable resistor


* The oil will then return to the top of the oil column tank, number 24 balancing the discharge rate causing

   perpetual flow cycle. This is enabled by the pump speed  plus the natural suction of the vacuum in tandem.


** Note - The vertical oil column, number 24, will require a "web" support then to brace the oil tank from the effect of high vacuum over long period to resist the mechanical fatigue of the high negative pressure. The insert structure "web" then will resemble a mag wheel spoke pattern to then keep the oil column tank from implosion. The support structure then placed within the oil column tank, number 24, then being of a selection material not effected by the oil contact. Number 25 may also require internal support.


* Note - Because this is a flow cycle, though being oil, capacitance may still form in the  flow system (flow tubes) so within the electronics, the control of the static electricity will then be attained "controlled" by a plasma box (a plasma box then acting as an artificial electrical ground collect in transformer - controlled volt regulated arc dissipation at capacitor "full".... ) or other controlled route....using plasma  (inert Noble gas charged to slow feed unwanted electricity to containment or regulated back into the system)


* Note -  The system is able to scale in electricity output..... a tower system then with 8,  1 Megawatt systems producing electricity may be surrounded by multiple  (8 Gw), Gigawatt generator system of the same type of "Gravity Drive" hydraulic suction system as a draft motivator with electrical "compoundment" /  (electrical re-introduction), then using the Megawatt system to assist in starting the larger cycles...yielding 8 Gigawatt per installation with a quick return time upon the cost of construction. The system pays for it's own expansion once initial systems are producing revenue / profit.... :II to coda


Estimated cost of production  (8 Mw system), with adapted existing manufactured parts approximately $750,000.00 to then yield $6M  ($6,000,000.00),  annual profit with sale of electricity at $0.10 per Kw/h allowing for subsidized expansion of the implementation of the system.... exponential return while the stabilization of the economy and ecology are then attained.







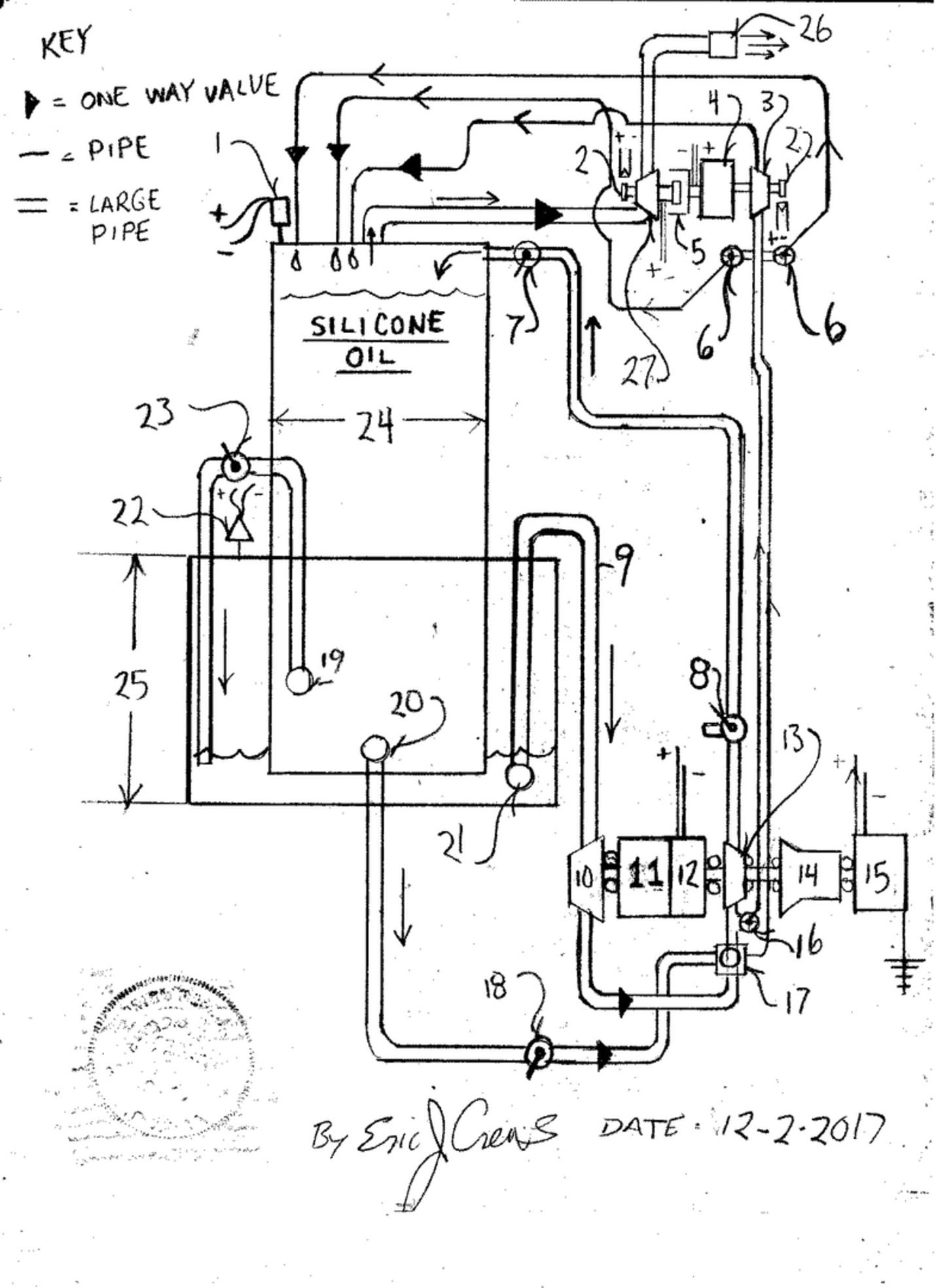
Below please find a simple schematic


Parts List

1. vacuum level sensor (allows for system air purge / vacuum purge  - allows air in....)

2. R.P.M. sensor (R.P.M. = revolutions per minute)

3. hydraulic impeller with internal reduction gearing at ratio gear set 20:1 the with the 1 the output rotation tandem
    locked to number 4's armature, may also contain an automatic gearing transmission then with the oil flow
    rotating a torque converter connected to the input of an automatic  gearing transmission. The torque
    converter then rotated by an additional hydraulic impeller impaled by the oil flow.  Automatic gearing transmission
    output rotation( via drive shaft,  tandem to the dual armatures in number 4

4. electric motor  "permanent magnetic" (P.M.) / may also generate electricity for the
    electromagnetic clutch , number 5 and or electric motor , number 12. A dual armature unit so "both" functions then
    able to be at the same time. Contains an electrical reintroduction circuit to cause forward advancement
    of  "tilt" then by the electric motor using a percentile of generated current in number 4 to advance atop the
    fluid rate produced by , number 3.

5. electromagnetic clutch

6. max pressure "over pressure" safety valve with over pressure vent tube

7. valve

8. valve ("pre-start" pipe purge ) / system fill valve (silicone oil)


9. pipe

10. hydraulic pump

11. 1:10 ratio gear set high side rotation tandem with number 10. May contain an electromagnetic clutch then
      causing number 10 to advance from number 11 in controlled fashion "may allow slippage" in the drive line to
      then control incline R.P.M. The additional electromagnetic clutch then with additional mechanical "start"
      clutch containing pressure plate clutch disk flywheel and automatic disengage when the cycle has
      sufficient electrical current available for the electromagnetic clutch system to then carry the "locked"
      rotation. Electrical current for the internal electromagnetic clutch and mechanical clutch dis-engage
      (solenoid),  then voltage regulated and intensity level controlled by potentiometer produced in electricity
      generator, number 4

12. electric motor armature tandem rotating with low side of the ratio gear set

13. hydraulic impeller

14. automatic gear selection- tractor trailer / semi truck automotive automatic transmission with torque converter

15. high voltage generator with magneto (magneto permanent magnet generator feeding the stator / field
      coil of the high voltage generator) - percentile of electrical output then directed to electric motor
      number 12 to then accelerate the total system to the operating rate for the scale of the total generation
      capacity of number 15.

16. max pressure over pressure safety valve with vent tube

17. hydraulic fluid (silicone oil) dampener pressure regulation  valve with discharge tube to number 3 , the
      unit will contain additional large diameter max pressure discharge connection then via tube venting
      maximum oil pressure to the top of the oil column oil tank , number 24. *NOTE - it's speed of fluid not
      pressure that causes this system to work. The dampener valve is a multi stage dampener with
      actuation level sensor to inform the electronics of the dampener valve's position. The maximum position then
      vents oil to the top of number 24. The electric signal produced from the dampener valve then assist
      in the generator (number 15), assembly's electromagnetic clutch's electricity level

18. Start cycle flow valve

19. silicone oil "fluid"  intake, intake from within number 24 discharges into number 25

20. silicone oil drain (drains number 24) intake from within number 24

21. siphon intake from within number 25

22. pneumatic pressure sensor / air pressure sensor

23. hydraulic fluid (silicone oil) flow valve

24. oil column "oil tank" retains vacuum and silicone oil

25. lower oil tank (silicone oil) pressure and vacuum sealed... required for the start cycle...

26. vacuum pump exhaust screened vent box

27. vacuum pump
























































*









Geoengineering - Climate Change Mitigation

Design Desk Inc.